8 (925) 663-83-63Call-центр
пн-вс: 10:00-19:00
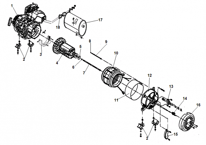
| N | Артикул | Название | Срок отгрузки | Цена | Купить |
| 1 | 012050000027 | Двигатель | – | ||
| 2 | 029910300301 | Виброизолятор | 220 р. | ||
| 3 | 029990000701 | Кожух крыльчатки генератора | – | ||
| 4 | 062026520009 | Ротор | 9.766 р. | ||
| 5 | 513041000000 | Шайба 10 | 74 р. | ||
| 6 | 513021000002 | Шайба 10 | – | ||
| 7 | 511011026501 | Шпилька крепления ротора 10х265 | – | ||
| 8 | 513020600002 | Шайба 6 | – | ||
| 9 | 511050617501 | Болт М6х175 | – | ||
| 10 | 62026530010 | Статор | – | ||
| 11 | 029030102000 | Защита статора | – | ||
| 12 | 029030430700 | Крышка генератора сторона AVR | 2.237 р. | ||
| 13 | 029030500101 | Колодка соединительная | – | ||
| 14 | 029030700200 | Щетки | 161 р. | ||
| 15 | 3060003002001 | Блок AVR | 2.432 р. | ||
| 16 | 029030300314 | Крышка альтернатора | – | ||
| 17 | 029040600001 | Глушитель | 2.650 р. | ||
| 18 | 029049910600 | Прокладка глушителя | 31 р. |
| Найдено товаров: 18 |
|
8 (925) 663-83-63 Call-центр
пн-вс: 10:00-19:00
| Введите номер заказа |
| Введите номер своего заказа, что бы узнать его текущий статус. Что бы получить доступ к расширенным функциям, пройдите не сложную регистрацию. Зарегистрироваться |